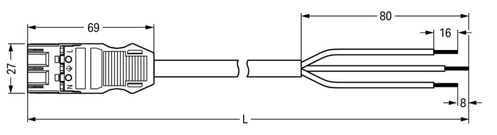
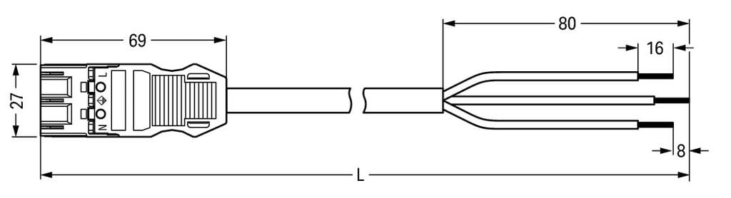
Wago Winsta Midi Patchkabel voor Bouwinstallatie - 771-9993/3206-301

https://portal.tameson.com/web/image/product.template/185192/image_1920?unique=f55c603

10,47 € 10.47 EUR 10,47 €

10,47 €

Not Available For Sale

    Deze combinatie bestaat niet.

    Terms and Conditions
    30-dagen geld terug garantie
    Verzending: 2-3 werkdagen