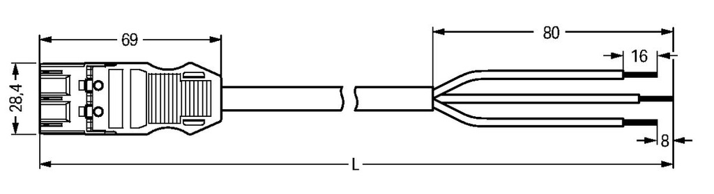
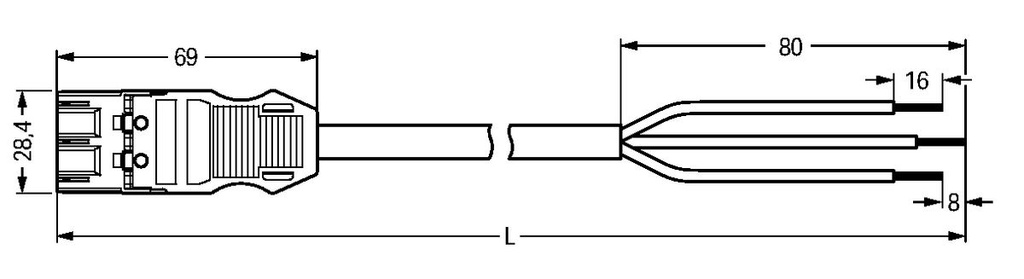
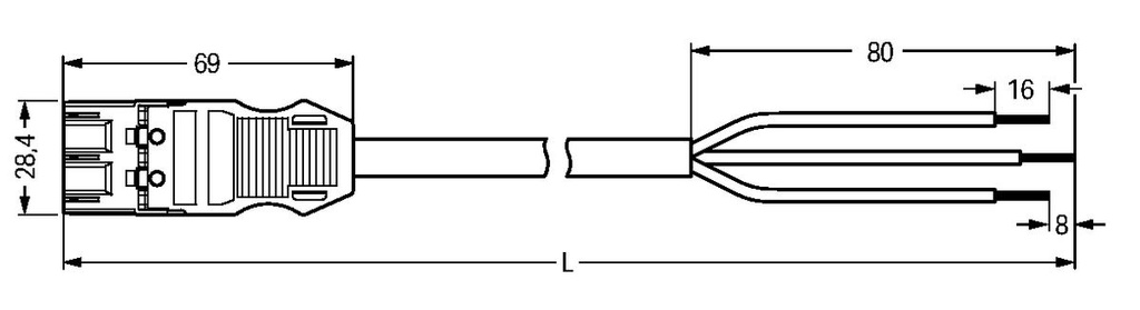
Wago Winsta Midi Patchkabel voor Bouwinstallatie - 771-9993/3217-301

https://portal.tameson.com/web/image/product.template/180491/image_1920?unique=3fc30e2

27,79 27.79 USD 27,79

19,46 €

Not Available For Sale

    Deze combinatie bestaat niet.

    Terms and Conditions
    30-dagen geld terug garantie
    Verzending: 2-3 werkdagen